Резистор R2 в то же время определяет его минимальное значение. Но если есть небольшие знания в области электроники, можно собрать простое зарядное устройство своими руками.

Значение выходного напряжения, при котором зарядное устройство определяет, что аккумулятор набрал свою ёмкость, определяется значением Uref на 4-й ножке микросхемы и задаётся резистивным делителем R7 и R1.

Отлично подойдет трансформатор, дроссель и диодная сборка Шоттки в качестве выпрямителя.
Симуляция схемы ЗУ

Современные контроллеры и сейчас используют основы алгоритма заряда, прописанные этим протоколом. Для улучшения теплового контакта данных деталей с теплоотводами желательно использовать теплопроводные пасты.

Ограничение импульса тока в момент включения производится резистором R1, мощностью 0,25 Вт. Если клеммы ранее обрабатывались смазкой, то она убирается любой чистой тряпкой.

В предложенном варианте он реализован при помощи распространённого и недорогого контроллера IR
Установив конденсаторы по мкФ, мощность возрастёт в два раза. Значительно снизить потери мощности в тринисторе, а следовательно, повысить КПД зарядного устройства можно, если регулирующий элемент перенести из цепи вторичной обмотки трансформатора в цепь первичной обмотки.

Отлично подойдёт импульсная электрическая схема зарядного устройства универсального типа представленная ниже.
РЕМОНТ ЗАРЯДНОГО ЗУ-90
Новое на сайте
Значительно снизить потери мощности в тринисторе, а следовательно, повысить КПД зарядного устройства можно, если регулирующий элемент перенести из цепи вторичной обмотки трансформатора в цепь первичной обмотки. Если же вы только начинаете, то лучше в мощном зарядном устройстве применить гораздо более простые схемы на обычном мощном трансформаторе, тиристоре и системе его управления на нескольких транзисторах. Конденсатор С1 должен обладать емкостью в микрофарадах, равной показателю мощности всего зарядника в ваттах.

Это место и потребуется тщательно протереть, чтобы избавиться от всей кислоты. Узел регулирования выполнен на однопереходном транзисторе VT1.

Особенность схем с гасящим конденсатором — добавляя или уменьшая емкость просто подключая или убирая дополнительные элементы вы можете регулировать выходной ток. Если вместо лампочки подключить электроплитку на самой маленькой мощности , то время заряда существенно уменьшится, но это очень опасно.

У различных аккумуляторов даже с одинаковыми параметрами со временем меняются химические и емкостные характеристики.
При этом, во время подзаряда устройство является ограничителем тока, а когда аккумулятор набирает свою ёмкость — переходит в режим ограничения напряжения для компенсации саморазряда.

Они часто ломаются и не всегда возможно быстро приобрести замену. За ночь АКБ подзарядится всего на несколько ампер-часов, но этого может хватить для запуска.

В предложенном варианте он реализован при помощи распространённого и недорогого контроллера IR
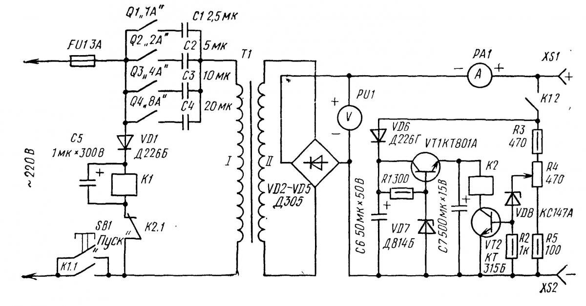
Зарядное-пусковое устройство. Тиристорная схема
Читайте также: Требования к прокладке кабельных линий в земле
Архивы статей
Регулятор силы тока заряда. После разборки осуществляется визуальный осмотр платы с целью обнаружения дефектов.

Причем происходит это очень интенсивно. Схема контроля заряда и автоматического отключения, в комментариях не нуждается.

В силу экономической выгоды современное производство в этой сфере сейчас сконцентрировано преимущественно на выпуске свинцово-кислотных гелевых Pb , никель — металл — гидридных NiMH , никель — кадмиевых NiCd аккумуляторов и аккумуляторов на основе лития — литий-ионных Li-ion и литий-полимерных Li-polymer.

В процессе реализации электрической схемы зарядного устройства для таких аккумуляторов следует различать два режима зарядки: буферный и циклический. А Желательно производить демонтаж батареи с установленного места, иначе возникнет риск повредить электронику поступлением большого напряжения. Импульсные устройства значительно уменьшают эффект сульфатации. Однако далеко не все изделия выдерживают сроки, установленные производителями.

Для сборки прибора необходимо понимать принцип работы ШИМ Широтно-импульсная модуляция генератора. В схеме на Рис. Из опыта проектирования электрических схем зарядных устройств скажем, что оптимальным значением зарядки литий-инного полимерного аккумулятора является значение 0,4С — 0,5С от его ёмкости. Что-ж, сколько заплатишь — столько проедешь, по цене это было понятно.

Отлично подойдет трансформатор, дроссель и диодная сборка Шоттки в качестве выпрямителя. Согласно приведённой схеме вторичная обмотка трансформатора должна выдавать не более 15 — 17В. Окончательный заряд происходит еще меньшими импульсными токами. При появлении перечисленных признаков в первую очередь необходимо проверить клеммы АКБ, при необходимости их почистить и поджать.
Причем происходит это очень интенсивно. В этой схеме тепловая активная мощность выделяется лишь на диодах VD1-VD4 выпрямительного моста и трансформаторе, поэтому нагрев устройства незначителен. Можно использовать и более мощные лампы, например, от габаритов, но это создаст лишнюю нагрузку на блок питания, что очень нежелательно. Тем не менее, схема существует, и она вполне работоспособна. От использования низкоомного реостата лучше отказаться.
Сколько ампер нужно для зарядки автомобильного аккумулятора? Такое устройство лучше применять только в критических ситуациях. Подобрать близкий по номиналу переменный резистор.
Схема зарядного устройства для Li-Ion аккумуляторов
Схемы для сборки своими руками
Резистор R3 ограничивает базовый ток во время перегрузок и перепадов в сети. Если клеммы ранее обрабатывались смазкой, то она убирается любой чистой тряпкой.
Стоимость такого прибора около рублей.
Для сборки преобразователя используется обычная обратноходовая схема на основе транзистора VT1. Зарядка для автомобильных аккумуляторов своими руками. Схема повышенной надежности В данном случае входное напряжение выпрямляется за счет использования диодного моста VD1, конденсатора С1 и резистора, мощностью не ниже 0,5 Вт.
Пары часов зарядки таким методом достаточно, чтобы запустить двигатель. Для решения таких ситуаций необходимо аккуратно разобрать аккумулятор и отключить встроенный контроллер заряда. Это гарантирует своевременное прекращение подачи электричества.
75 комментариев для “Тиристорное импульсное зарядное устройство 10А на КУ202”
Б Аккумуляторная батарея слишком нагрелась под воздействием солнечных лучей. Обязательно нужно контролировать температуру нагрева всех элементов зарядки и АКБ, нельзя допускать закипания электролита. Но аппарат также подходит и для других аккумуляторов — литий-ионных, поскольку напряжение и выходной ток можно отрегулировать. Данная схема состоит из стабилизатора тока в 1А.
Упрощенная схема такого устройства приведена на рис. При таком напряжении двигатель, скорее всего, запустится, но при долгой стоянке зимой это приведёт к сульфатации пластин и, как следствие, к снижению ёмкости батареи. Будь вы владельцем мобильного телефона, планшета, ноутбука или даже автомобиля, так или иначе вам неоднократно придётся столкнуться с зарядкой аккумуляторов этих устройств. Ограничение импульса тока в момент включения производится резистором R1, мощностью 0,25 Вт. Эти схемы имеют завидную мощность, мало греются, располагают высоким КПД.
Максимальный ток, получаемый при заряде составляет 6 А. Каждый из них имеет свою специфику работы заряда и разряда. Электрическая схема зарядного устройства Неуклонная тенденция развития портативной электроники практически ежедневно заставляет рядового пользователя сталкиваться с зарядкой аккумуляторов своих мобильных устройств. Основная схема преобразователя такая же, как и в предыдущем варианте, с транзистором VT1. Регулятор силы тока заряда.
Все остальное: транзисторы, конденсаторы и прочая мелочь — обычно в наличии у радиолюбителя по всяким коробочкам-ящичкам. Уровень определить не составит труда — пластины должны быть полностью покрыты жидкостью. Несмотря на различие производителей, общие схемы очень похожи друг на друга.
№49 простое зарядное устройство ЗУ — 2М аккумулятор изготовление платы (часть 2)