Ниже приведены основные правила, которых следует придерживаться при монтаже электропроводки в доме или квартире: ключевые элементы электропроводки, такие как короба распределения, счетчики, розетки и выключатели должны быть легкодоступны; установка выключателей выполняется на высоте 60 — см от пола.

Если хотите, можно побороться, если нет — выбирайте счетчик и автомат в корпусе с повышенной пыле- и влаго- защищенностью — класс защиты не ниже IP Только так можно гарантировать безопасность.

Эти данные помогут подсчитать количество необходимых кабелей и дополнительных расходных материалов.
Монтаж электропроводки своими руками.Разводка электропроводки под свет и розетки.
Если частный дом большой — на несколько этажей, имеет смысл поставит более мощные автоматы на каждый этаж, а к ним подключать автоматы групп. Но проектирование лучше оставить специалисту.
Потом соединить провода по разработанному чертежу можно самому. Зачастую при открытой проводке сами кабель-каналы стараются разместить около плинтуса или наоборот практически под самым потолком.

Нельзя его путать с УЗО дифференциальным выключателем. Начинаем с прокладки основной магистрали и от розеток к щитку освещения.

Есть и такие коробки, которые также устанавливаются под штукатурку, но имеют крышку.

Вторым размещается электросчетчик.

Сборка распределительной коробки.
Содержание
За это время, наверняка, вы сможете выгнать стену, на которую можно будет поставить автомат и счетчик. Но все это обязательно надо учесть и сложить, чтобы вычислить суммарную мощность коттеджа. В электрических кабелях жилы делают из меди или алюминия. Отверстия для оборудования выполняются перфоратором, используя насадку-коронку.
В первую очередь это касается сечения электропроводки.

Короба для проводки закрепляем при помощи саморезов с шагом 50 см.

Канавки с меньшей глубиной сложно штукатурить. Поэтому, чтобы определиться с требуемым количеством, необходимо измерить всю проводку рулеткой и прибавить к полученному результату еще 4 метра.

Также оставляем его без подключения. Способы соединения проводов Большой процент проблем с электропроводкой происходит от плохого соединения проводов.

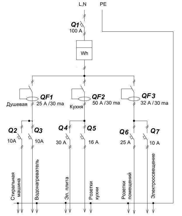
После определяются группы потребления, в соответствии с чем к разным комнатам будут подводиться разное количество линий.

Заключение Жизнь современного человека настолько зависит от электричества, что даже час без электроэнергии большинству кажется бесконечным.
Подключение розетки и выключателя
Электропроводка своими руками: с чего начать?
В корпусе из термостойкого пластика запаяны металлические клеммы, которые затягиваются при помощи винтов. А во втором они будут полностью утоплены в толще перекрытий и перегородок, однако посверлить и подолбить перфоратором придется немало.

Это только общий план, в каждом случае есть свои нюансы и особенности, но начинать нужно с получения технических условий подключения к электросети и проекта. Для электропитания ванной комнаты следует предусмотреть отдельный трансформатор, понижающий напряжение.

И проводка в них должна монтироваться с учетом следующих требований: использование кабелей с безупречной изоляцией и самозатухающих проводов; применение исключительно металлических распределительных и установочных коробов; обязательная герметизация любых соединений; недопущение соприкосновение открытой проводки со стенами и потолком необходимо в обязательном порядке использовать фарфоровые изоляторы ; ведение скрытой проводки только по медным трубам и стальным проводам, обязательно с обеспечением заземления; монтирование пластиковых гофр и коробов в штукатурку. Тестирование системы и получение акта.

Основная задача такой схемы — это указание места установки приборов и прокладки проводов. Эти короба имеют достаточно эстетичный вид и используются для монтажа электрической сети после того, как владелец завершил отделку и покраску стен. Электропроводка в частном доме В частном доме или на даче оформление электрического кабеля потребует особых мер безопасности. Автоматы соединяются сверху последовательно перемычкой из белого провода или специальной медной шиной фабричного производства.

Это — гарантия вашей приватной безопасности и безопасности вашей частной собственности. К щиту отключения и УЗО подключаются несколько кабелей, определенного цвета: сверху к 0 —синий провод, в тоже время к УЗО сверху — белый, к заземлению — желтый с зеленой полоской.
Для того чтобы они не выделялись на фоне интерьера, можно подобрать обшивку или крышку, которые имеют такой цвет, которые соответствует дизайну. Инструменты необходимые для монтажа.
Причем автомат желательно сразу подписать: проще будет ориентироваться. Вертикальные кабели кладутся на расстоянии: от оконных и дверных проемов — 10 см, не меньше; от газовых труб — 40 см, не меньше. Теперь переходим к разводке проводки открытым способом. Определение силы тока Планируя электропроводку, надо прежде всего рассчитать силу тока в сети.
Такие короба могут монтироваться вдоль потолка, пола или дверной коробки. Специалисты выедут на место и составят схему разводки, опираясь на конкретные условия монтажа. После того, как провода от автомата до точки подключения розетки или выключателя проложены, их проверяют на целостность тестером — прозванивают жилы между собой, проверяя целостность проводников, и каждую по отдельности на землю — проверяя не повреждена где-нибудь изоляция. Пара или тройка проходных выключателей соединяется между собой и с питающим кабелем по другой схеме.
Обзор электромонтажа в частном доме.
Составление схемы
Причина эстетическая: не самое привлекательное зрелище.
В принципе задача не из самых сложных, и вполне ее можно выполнить, при наличии смекалки и внимательности. Для 3-фазной сети берут 5-жильный кабель, для 1-фазной — 3-жильный. Это — гарантия вашей приватной безопасности и безопасности вашей частной собственности.
В общем, количество групп — дело индивидуальное и зависит больше всего от размеров дома и количества электрооборудования в нем. Если проводка была сделана самостоятельно, то нужно обратиться к специалистам, чтобы была проверена безопасность соединения. Монтируем коробки распределения, розетки и выключатели.
Грамотный монтаж проводки подразумевает ее прокладку по правилам — с отступами от пола, потолка и дверных проемов, указанными на чертеже. Герметичную электрофурнитуру целесообразно использовать на внешних стенах частного дома, на балконе, крыльце и т. В больших холлах, коридорах, комнатах устанавливают проходные выключатели.
Рекомендуем: Пуэ прокладка кабелей в земле
Навигация по записям
Например, штробы под кабель при закрытом способе монтажа должны закладываться на глубину ,5 см, не меньше. Они могут иметь один, два или больше каналов.
Главное — придерживаться рекомендаций и соблюдать технику безопасности. А для себя и своей семьи можно постараться все сделать максимально аккуратно и точно, с учетом всех существующих требований, и в первую очередь — требований безопасности. Их можно сделать несколькими способами: Скрутка.
Содержание
На щите функцию жилы можно определить по цвету ее изоляции: белая иногда красная, черная или коричневая соответствует фазе; синяя — нулю; Окончательную сборку щита проводят после того, как закончен монтаж проводки. Электричество — источник комфорта Основы техники безопасности — ошибки и способы их избежать Незнание или невнимательность к деталям может привести к ошибкам монтажа. Если вы не знаете, как правильно провести электрическую проводку в доме, обратитесь в проектную организацию.
Это сделает электрик. Что касается потолка, то тут есть несколько вариантов решения вопроса с размещением и закреплением проводки. Ток срабатывания отключения этих устройств подбирается так, чтобы первым отключался автомат, установленный в доме его величина тока чуть меньше.
Электромонтаж. Часть 1 — Схемы проводки для «Чайников»